スポンサーリンク

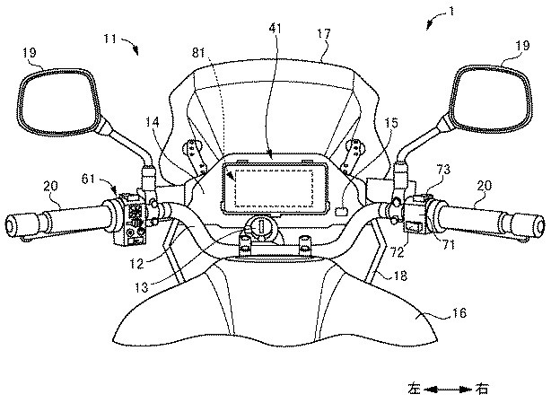
スズキのスマートフォンをメーターにしちゃおうって特許が公開されてるよ

スポンサーリンク

実現したら面白そうですよね。色々と面倒くさそうな点がありますけども。
s01

続きを読む

Source: 個人的バイクまとめブログ

スポンサーリンク
スポンサーリンク