スポンサーリンク

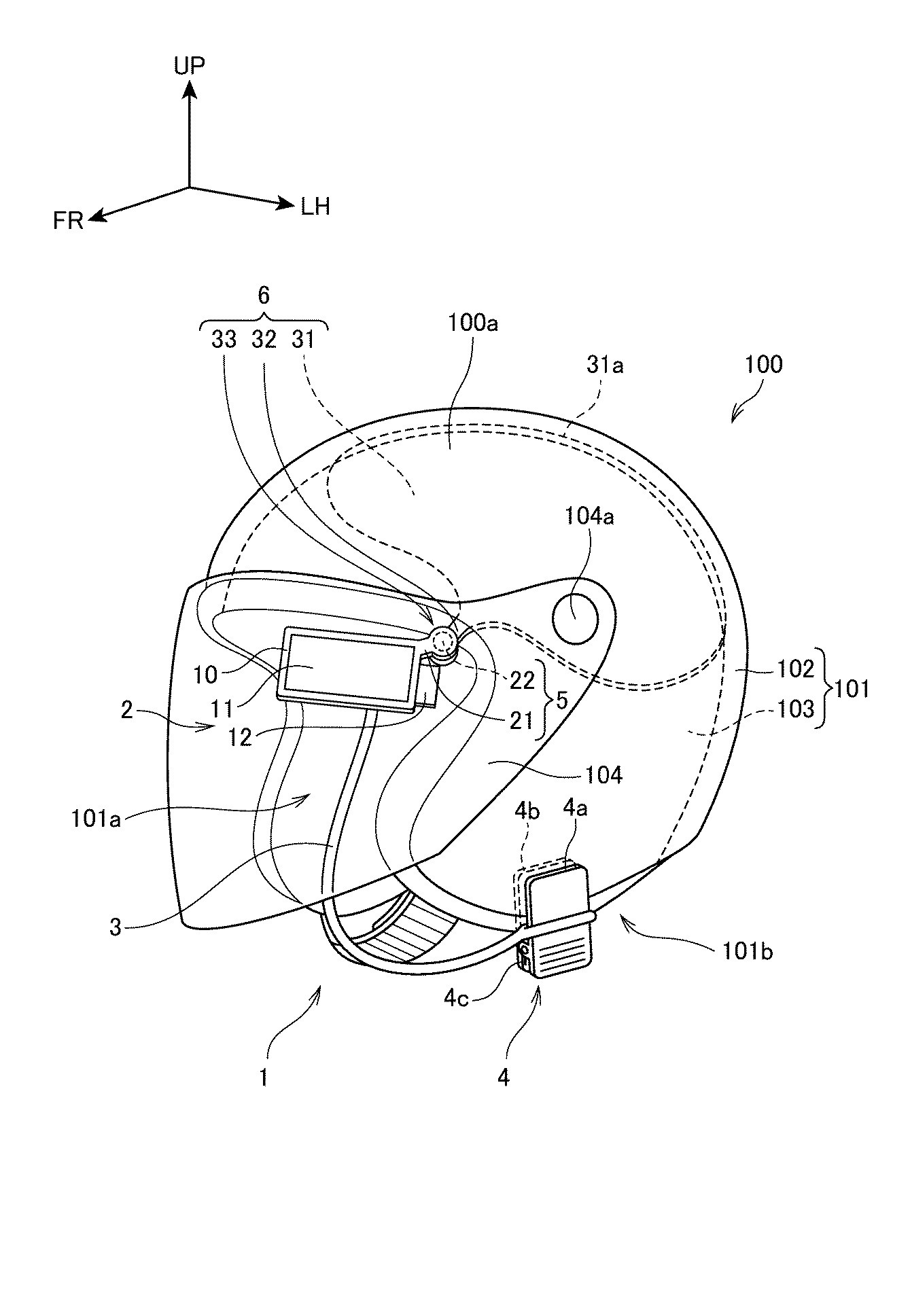
ホンダのヘッドマウントディスプレイ&ヘッドアップディスプレイの特許

スポンサーリンク

ホンダとかSHOEIとか、そういう大手がこういうの作ってくれると嬉しいんですけどね
hmd (3)

続きを読む

Source: 個人的バイクまとめブログ

スポンサーリンク
スポンサーリンク