スポンサーリンク

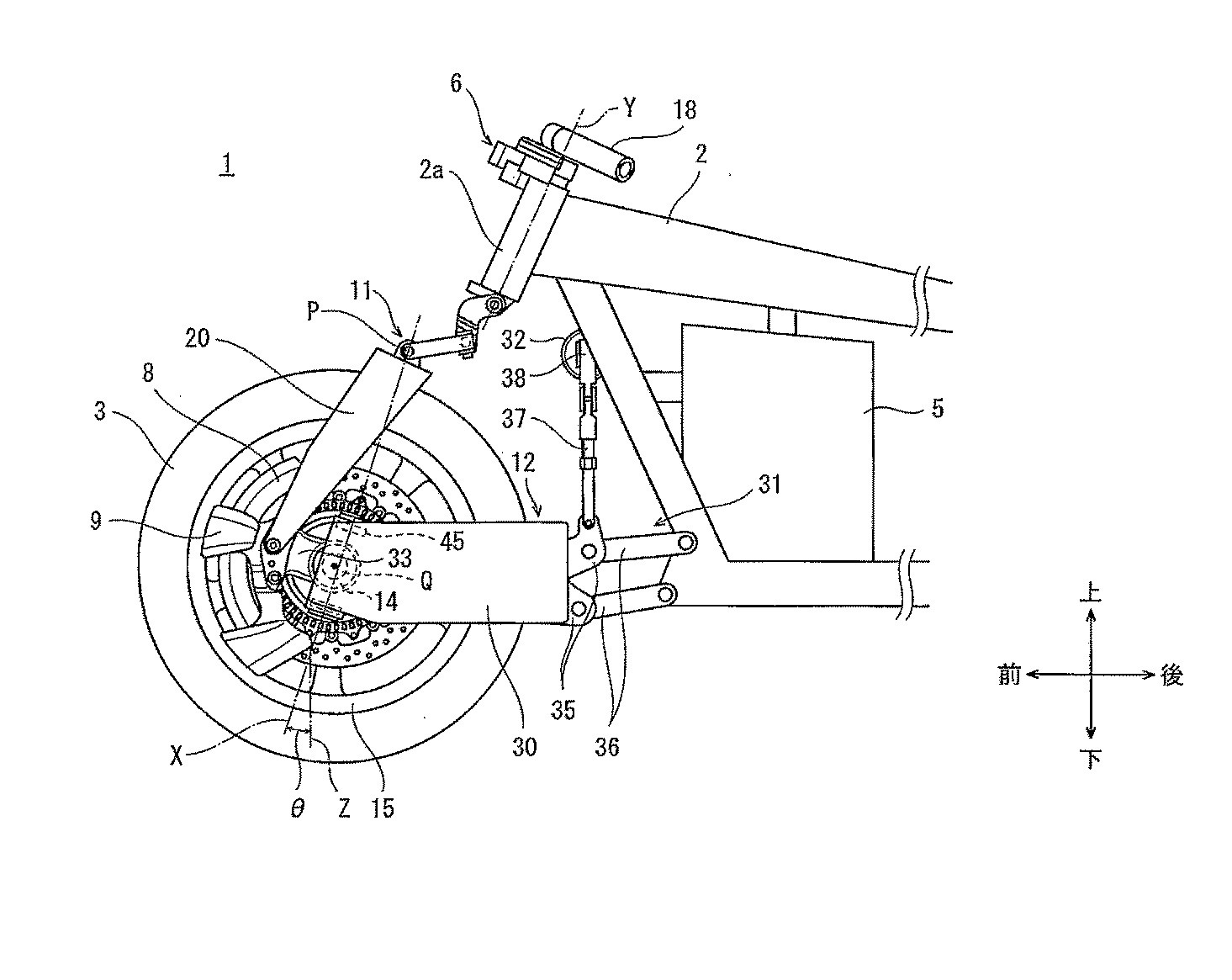
カワサキのハブステアリング特許が公開されているよ。J Conceptですかね?

スポンサーリンク

今頃ハブステアリング関連の特許です。そういえば今年に動画が公開されていましたね。
kawahabu (8)
続きを読む

Source: 個人的バイクまとめブログ

スポンサーリンク
スポンサーリンク