スポンサーリンク

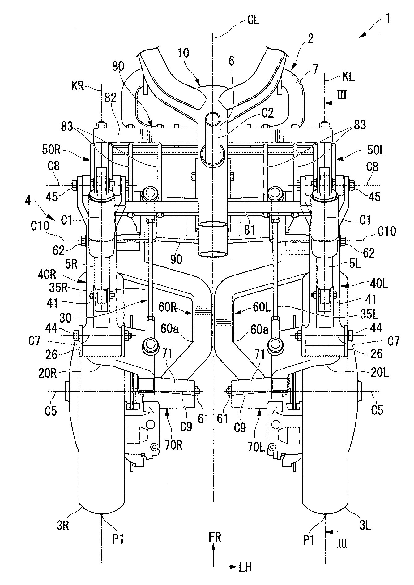
ホンダの前二輪の三輪バイクの新たな特許が公開されてるよ。NEO WINGですかね?

スポンサーリンク

ホンダも三輪バイク出しちゃうのかな?ライバルのヤマハが出しますしね。

neowing (4)
続きを読む

Source: 個人的バイクまとめブログ

スポンサーリンク
スポンサーリンク